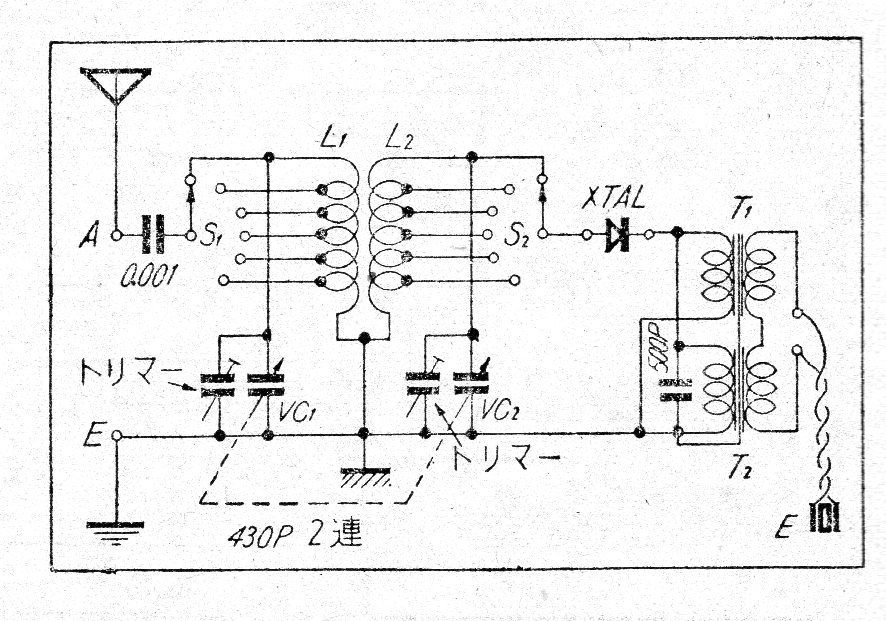
The circuit found in a 1950s publication helps to match the impedance of an antenna with the input of a short-wave receiver in receiving stations of certain frequencies. No information was given about the coils. The circuit is totally passive and does not require a power supply.




