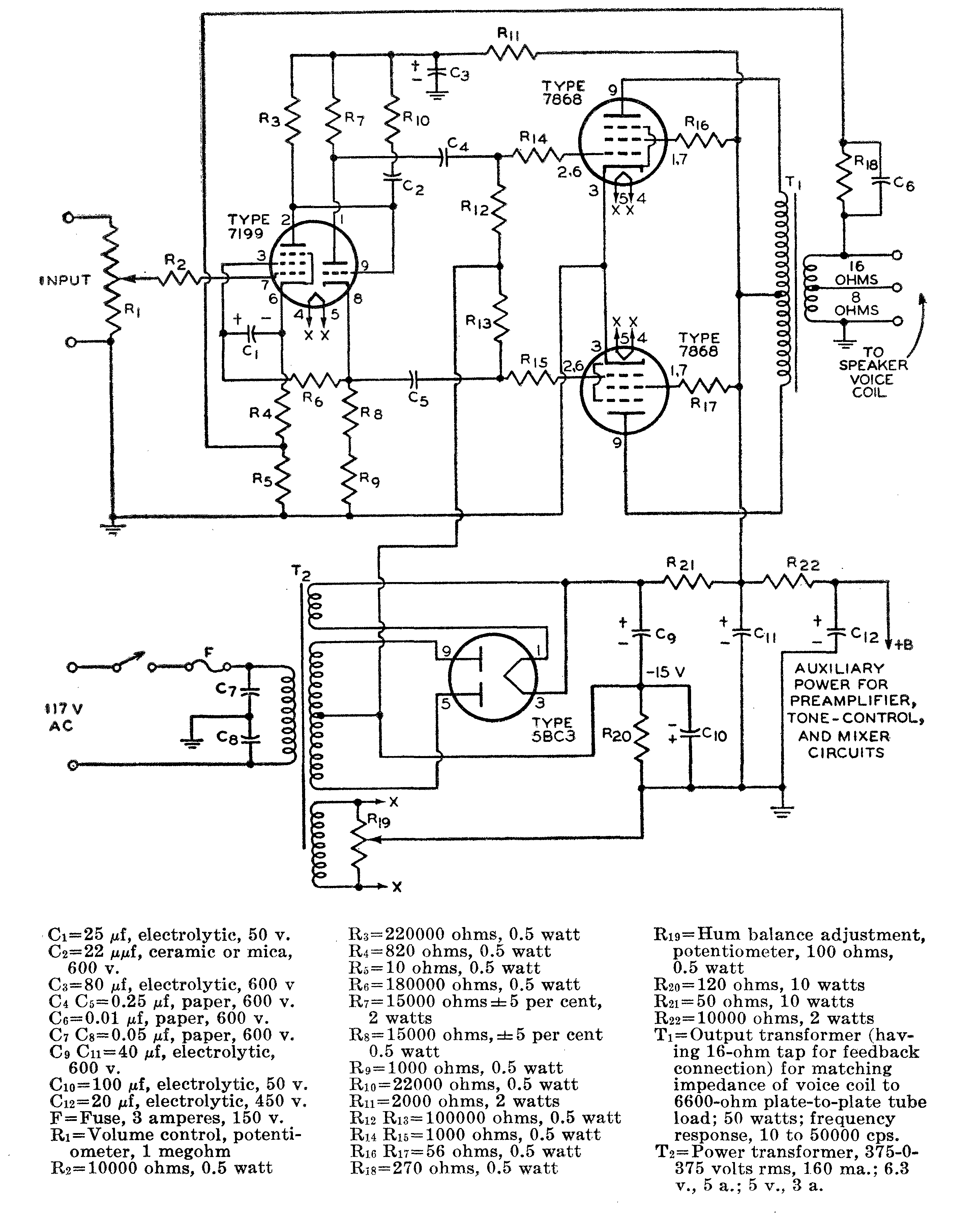
Operating in class AB1, this high-fidelity amplifier was found in the 1961 RCA tube manual. The circuit has high input impedance and good gain.
This circuit was found in English documentation from the 90's. Transistors are general purpose types....
This instrumentation circuit is from the June 1986 issue of Radio Electronics magazine. Equivalent...
This is an interesting idea that we found in the May 1971 issue of Radio Electronics magazine. It can...