What practical applications would an infrared detector have? Considering that this type of radiation is nothing more than a form of electromagnetic emission similar to light, but which we cannot see, the possession of an infrared detector leads us to perceive a form of energy that we cannot see and that characterizes hot bodies.
In fact, any body that is heated above absolute zero (-273 ° C) emits infrared radiation. This emission comes from the agitation of its particles (atoms) which are driven to the point of emitting energy in the form of electromagnetic waves of very short wavelength.
As shown in Figure 1, the infrared radiation is positioned in the spectrum below the visible light range.

The amount of radiation emitted by a body depends on its temperature, as shown in the distribution in Figure 2.

Through these curves, we see that slightly heated bodies, between room temperature and one or two hundred degrees, have most of their energy emitted in the range of infrared rays.
If we heat up the bodies a little more, the energy begins to appear also in the range of visible light, for example, in the red-light sector, when the body appears "to be burning".
A heated iron does not have enough temperature to appear to be burning, but it is a powerful source of infrared rays. We can perceive this radiation by the simple approach of our hand or face. We then feel the "heat" of the infrared emission.
A very sensitive infrared radiation detector can then be used to find a heat source that we cannot see, such as a hot component in an device, a heat leak in a heating system, or even a short point in an installation.
How it Works
The ionization voltage of a neon lamp, that is, that in which it is possible to pull electrons from the last layer of the neon gas atom, is usually around 80 Volts and depends on the physical properties of the gas atoms in question. There are then ionization levels, as shown in Figure 3.

When the gas is ionized, it ceases to be insulating and becomes a conductor of current while emitting light of a characteristic color. In the case of neon gas, this light is orange.
However, it appears that the gas ionization point decreases if there is an incidence of some form of external energy which "helps" the electrons to be pulled out of their atoms.
One type of energy that passes through the glass of a neon lamp and that can be used to lower the gas's ionization point is the infrared radiation.
If, then, we apply a certain voltage to the lamp that leaves it ready to ionize, as shown in Figure 4, that is, close to 80V, and then we employ infrared radiation, the lamp will have moments of ionization producing pulses, that is, going into oscillation.
This is the working principle of our detector: a relaxation oscillator with a neon lamp that is brought close to the point of oscillation. With the incidence of infrared radiation, it will start producing pulses of current.
Then, we have a very simple circuit: a system that rectifies the network voltage, obtaining around 150V continuous from the 110V network and twice as much in the 220V network (the device works in both networks).
Next comes a potentiometer which allows us to adjust the voltage on the neon lamp so that it leaves it on the trigger threshold. A headphone or an external amplifier can be connected with the lamp.
In the moments when the lamp conducts, due to the presence of radiation, the capacitor in parallel produces a pulse of current which translates into a crack in the headphone or the amplifier speaker. Then just bring the lamp closer to the radiation source: the circuit must oscillate producing sound. The lamp should flash at the same time.
Assembly
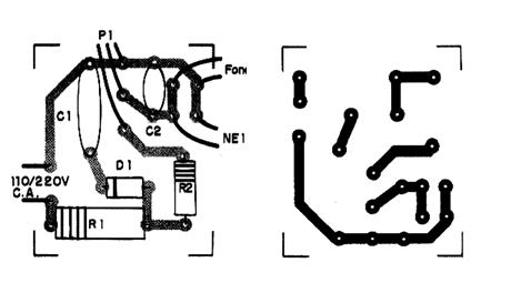
The complete circuit of the detector is shown in Figure 5.

We can build it based on a printed circuit board shown in Figure 6.

The neon lamp can be of any type like the NE-2H which is the most common in our market. For greater sensitivity, the phone must be made of crystal, as other types will have very low clicks which will not be heard easily.
The power source diode is 1 N4007 or 1 N4004 and the capacitors must be made of polyester metallized for 600V or close to that. For the 110V network, the use of capacitors for 400V is allowed. The resistors are not critical, they can be 10% or 20% with 1/4 or 1/8W of dissipation.
To obtain the maximum sensitivity of the device, it is convenient to mount the sensor (neon lamp) in a device that allows the concentration of infrared radiation.
One idea is to mount the sensor (neon lamp) in the focus of a small parabolic reflector. This reflector can be an old car headlight whose lamp was removed. See Figure 7.
Another possibility would be the use of an infrared ray filter to prevent other types of radiation, such as visible light, from acting on the lamp.
Test and Use
For testing, just connect the power and adjust the potentiometer so that the system is in a very slow oscillation point, a blink of the lamp or a click on the phone every 4 or 5 seconds.
Then, bring closer to it objects which have infrared emission power, such as a sheet of or even a heated soldering iron. The blinking frequency should increase.
To use it, just point the reflector or bring the lamp close to the objects you want to check the emission. As the speed of the blinks and the number of clicks on the phone increases, we have an indication of infrared radiation emission.
We observed that this circuit is also sensitive to alpha radiation (nuclear radiation) although the glass bulb of the lamp prevents a part of the particles from reaching the gas causing its ionization.
D1 - 1 N4004 or 1 N4007 - silicon diode
C1 - 220 nF x 600V - polyester capacitor
R1 - 22k x 1W— resistor
R2 - 1M - resistor (brown, black, green)
C2 - 47 nF - polyester capacitor
P1 - 4M7 - potentiometer
NE-1 - NE-2H or equivalent neon lamp
F - Crystal headphone
Miscellaneous:
printed circuit board, box, reflector or infrared filter, power cable, plastic box for the assembly, phone jacks, wires, solder etc.





