Found in a 90's EDN this circuit can be used as a shield. The transistor is a general-purpose type and the frequency of the emitted sound is determined by R1 / C1.
This circuit is from an old documentation making use of a 3,579,645 MHz analog color television...
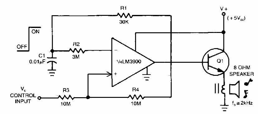
The circuit shown in the figure is suggested by Intersil (www.intersil.com) and makes use of the...
This circuit split the voltage of a Power supply allowing it to be used as dual supply. The limit...