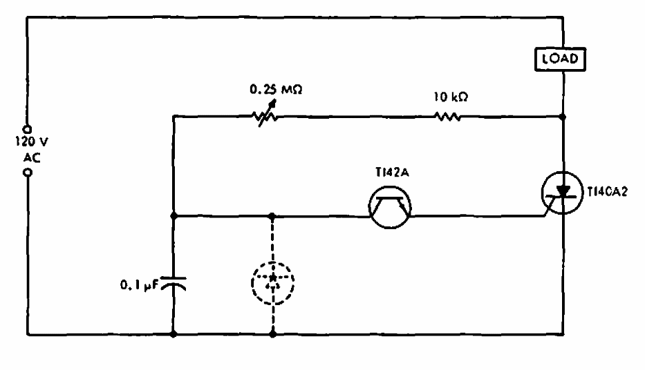
Suggested by Texas Instruments in 1968 documentation, this circuit uses components from the era. Modern diacs and SCRs can be employed.
This circuit was found in a 1998 documentation. It uses a sensor that detects the magnetic band of...
This circuit is from a Radio Electronics magazine from August 1990. The indicator module is of a...
We found this small audio amplifier in the November 1999 issue of Electronics Now magazine. The...