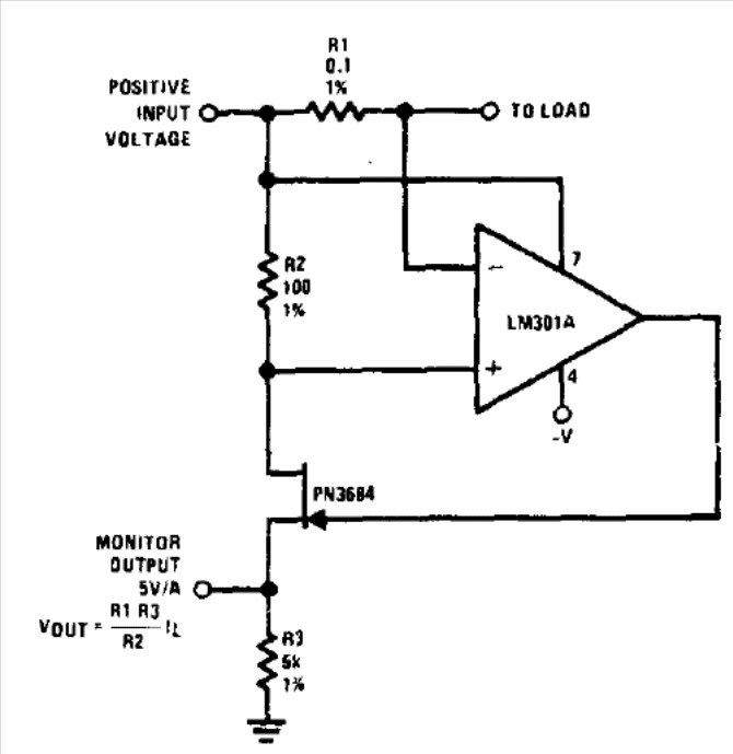
This circuit was obtained in a 1977 National Semiconductor manual. Its purpose is to monitor the output of a power supply. Equivalent operational amplifiers can be used as well as the BF245 for the N channel FET. Note the use of precision resistors in this circuit.




