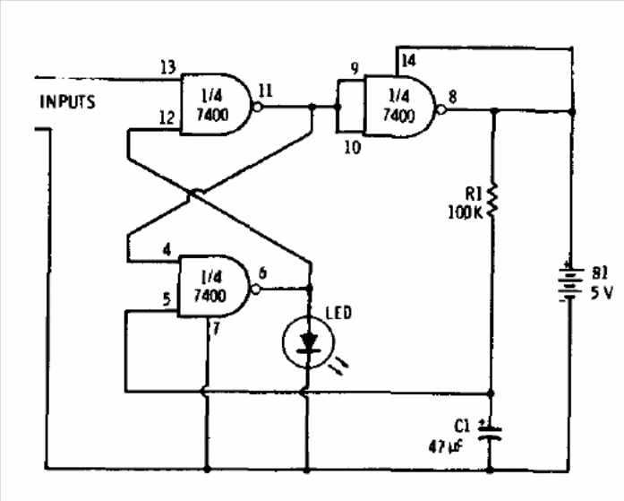
This monostable circuit, from a 1977 Radio Shack documentation, uses a 7400. The time is given by the capacitor and the power must be supplied with 5 V.
This simulation shows how can we test a capacitor using a function generator and oscilloscope. The...
This circuit controls the passage of the signal from an input to an output using a DC signal from a...
The LM12 is a high-power operational amplifier capable of providing a 4 A output current with a 40...