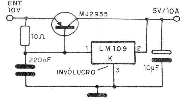
This simple regulator provides a voltage of 5 V with a current of up to 10 A. The transistor must have an excellent heat sink. The LM109 integrated circuit is uncommon today, but equivalent 3-terminal regulators like the 7805 can be used.
This simple regulator provides a voltage of 5 V with a current of up to 10 A. The transistor must have an excellent heat sink. The LM109 integrated circuit is uncommon today, but equivalent 3-terminal regulators like the 7805 can be used.