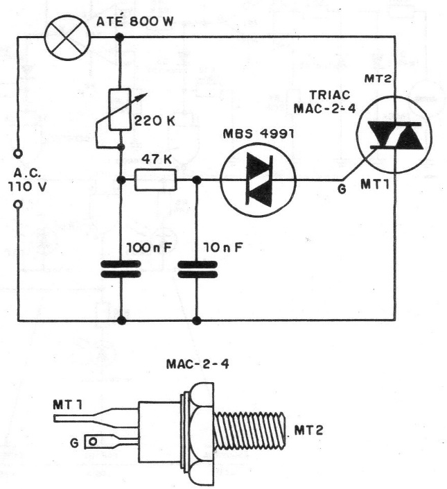
This is a conventional triac dimmer configuration found in a 1986 documentation. The triac used is a MAC-24 (200 V x 8 A) common at the time, which has a housing for installation in a large heat sink.
This is a conventional triac dimmer configuration found in a 1986 documentation. The triac used is a MAC-24 (200 V x 8 A) common at the time, which has a housing for installation in a large heat sink.