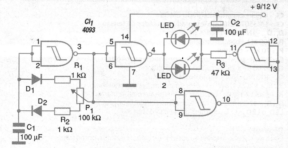
With this circuit it is possible to control two LEDs of different colors, making their color combination. The circuit can be powered by voltages from 5 to 12 V and the current on the LEDs is determined by R3, which can have values between 1k and 47k.




