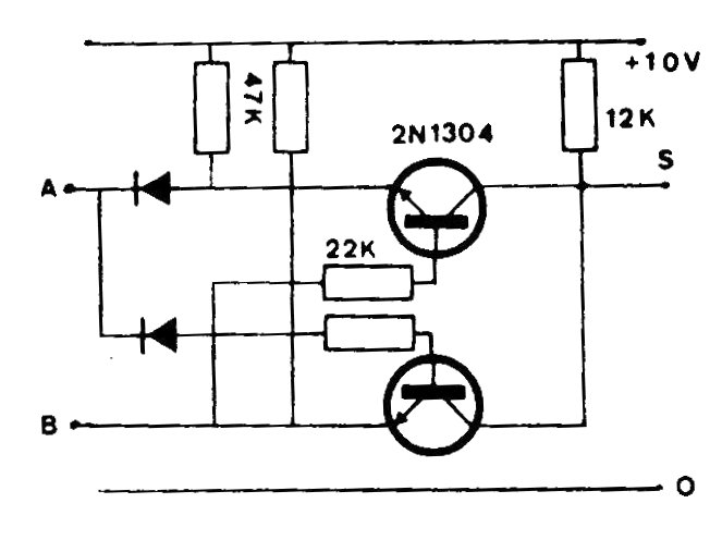
The diodes are for general use and the transistors also in this Exclusive-OR circuit. The circuit may have the values of the resistors changed to 5 V logic.
This circuit was found in a Popular Electronics of the 1990s. The sensor is a rotating mechanical...
With this circuit it is possible to obtain an intermediate voltage of 6 V from a 12 V battery with...
Found in a 303 Circuits from the 90s, this circuit converts signals from the 10 kHz to 150 kHz...