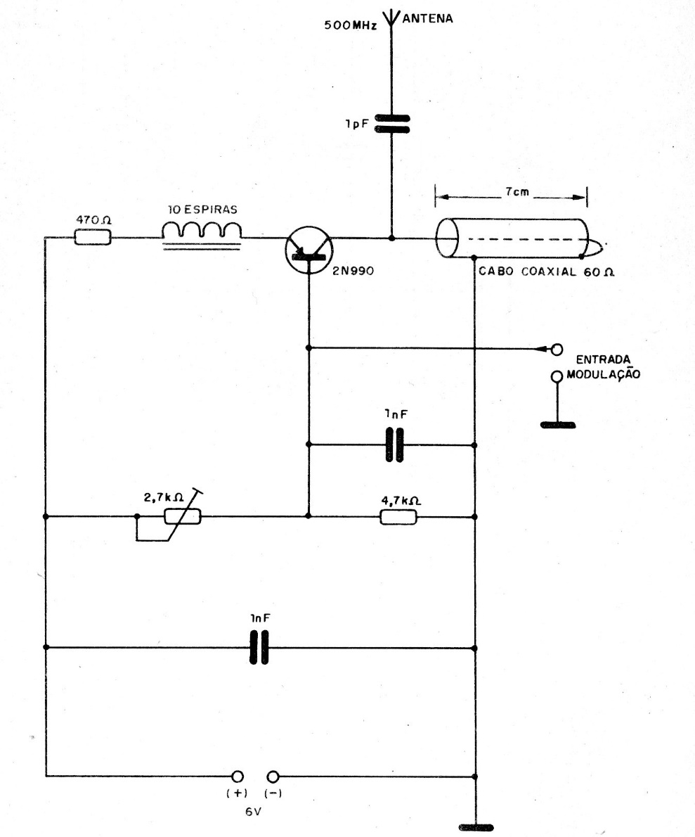
Of course, with a change in the cable length, the frequency can be changed as long as it is within the operating range of the transistor. Capacitors must be ceramic and the connections between components very short.
Of course, with a change in the cable length, the frequency can be changed as long as it is within the operating range of the transistor. Capacitors must be ceramic and the connections between components very short.