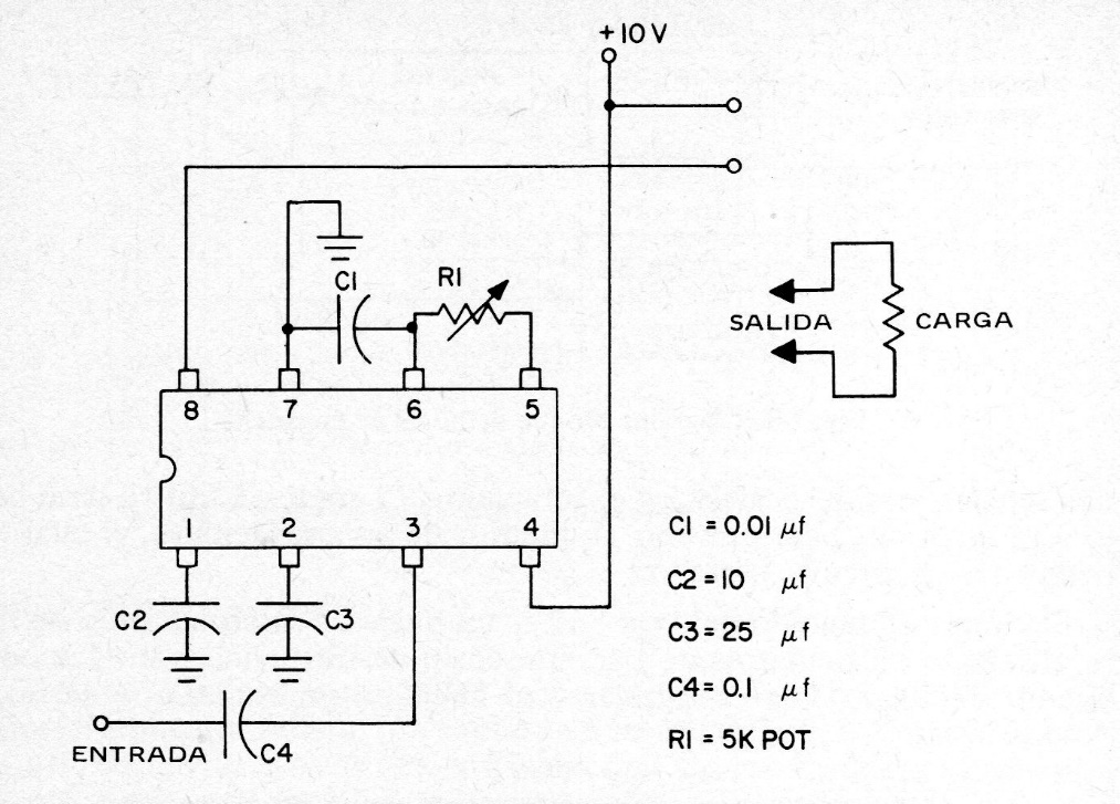
On this website we show how to calculate the components of this circuit for other frequencies. The basic configuration with the component values shown for 50 kHz is from Spanish documentation from the 1980s.
On this website we show how to calculate the components of this circuit for other frequencies. The basic configuration with the component values shown for 50 kHz is from Spanish documentation from the 1980s.