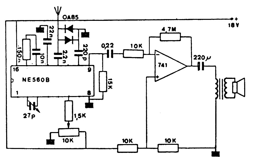
The first integrated circuit of this receiver, a PLL from the 90s, is no longer easily found on the market. The circuit is from a documentation from the 90s and its main feature is the non-use of coils. The output transformer is the type found on old transistor radios.




