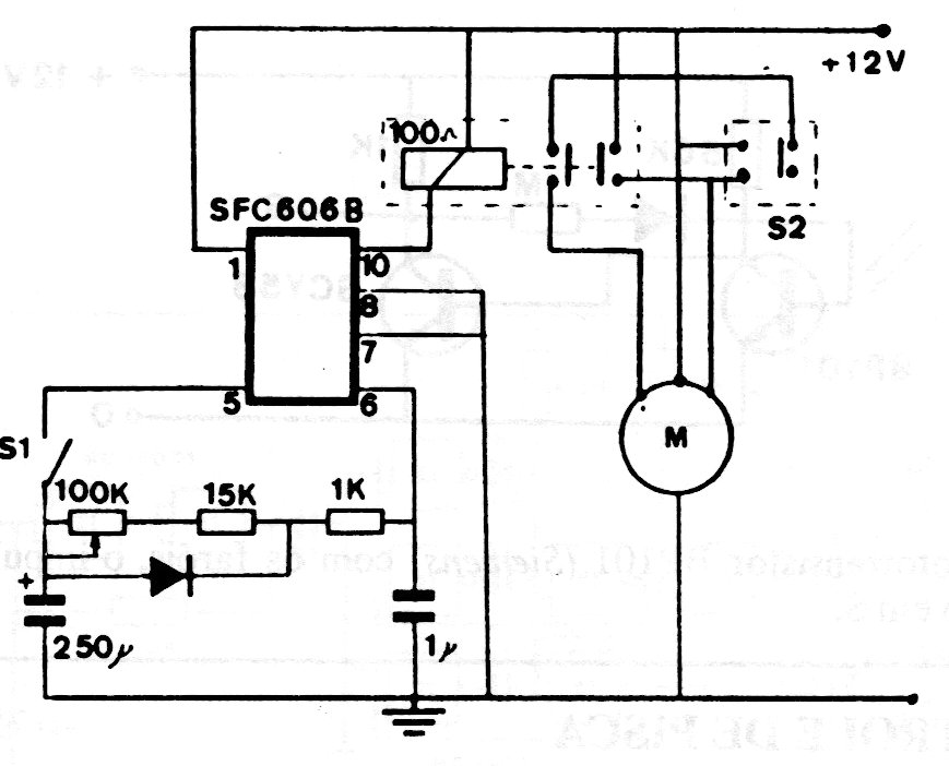
This circuit found in old documentation can be used on old cars that do not have this feature. The integrated circuit used is uncommon today.
This test circuit was found in the PE Hobbyst Handbook in a 1990s edition. The circuit tests the...
We found this circuit in GE's 1977 transistors manual. Transistors admit equivalents according to the...
Here is a very useful circuit that can be expanded, including the use of more integrated circuits...