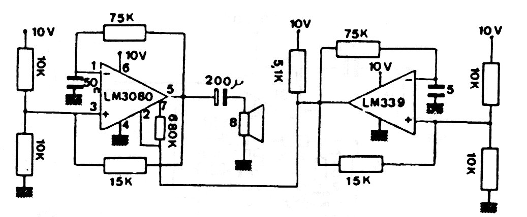
The two integrated circuits used in this configuration can still be found. The frequencies of the effects are determined by the capacitors, which may have their values changed.
This circuit was found in Motorola documentation from the 1980s. PUTs are not common components...
The two integrated circuits used in this configuration can still be found. The frequencies of the...
In the figure we have a circuit that uses two 555 to control the positioning of a servo motor. The...