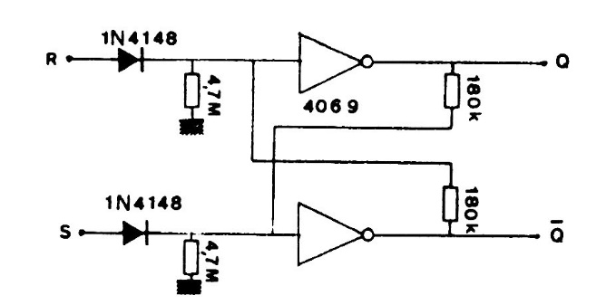
In the figure we have the way to control a flip-flop with the 4069 from positive pulses. The circuit can be used as a shield, if powered by 5 V.
This non-inverting AC amplifier was found on a Popular Electronics. The setting applies to any...
This circuit supplies 5 V from two AA batteries. The output current is 4 mA, resulting in an 11 mA...
With this regulator we can have currents of up to 4 amps with 5V at the output. The transistor can be...