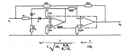
This circuit is from 80s documentation and makes use of common operational amplifiers. The formulas for calculating the components are given next to the diagram. The power supply must be symmetrical.

This circuit is from 80s documentation and makes use of common operational amplifiers. The formulas for calculating the components are given next to the diagram. The power supply must be symmetrical.
