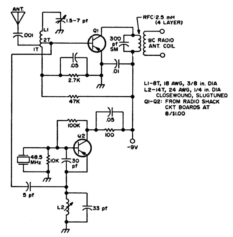
With this circuit it is possible to receive signals in the 2 m (150 MHz) range on a pocket AM radio. The circuit was found in documentation from the 1980s. The coil data is provided along with the diagram. RF transistor like the BF494 can be used.
With this circuit it is possible to receive signals in the 2 m (150 MHz) range on a pocket AM radio. The circuit was found in documentation from the 1980s. The coil data is provided along with the diagram. RF transistor like the BF494 can be used.