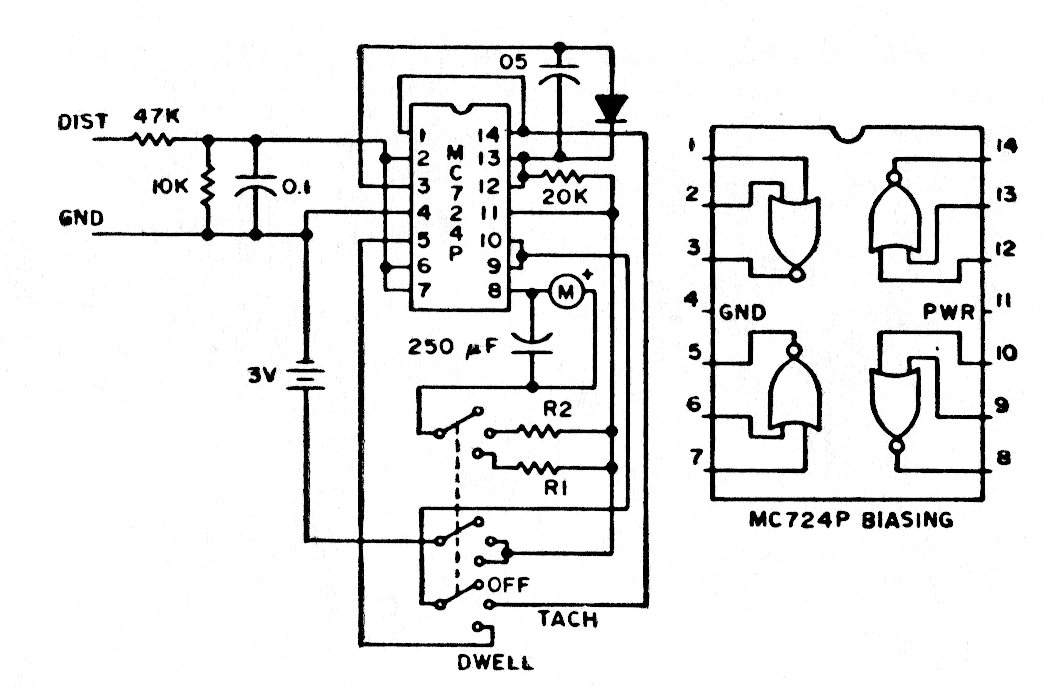
This tachometer and dwell meter for old cars was found in a 1975 documentation. The circuit is a reference for those who want to recover or maintain an old car.
This circuit only detects variations in light falling on the sensor. The circuit uses an LM380 as a...
This latched switch configuration was obtained from National Semiconductor documentation on the...
This electronic roulette circuit with 10 numbers was found in a Popular Electronics from the 80s....