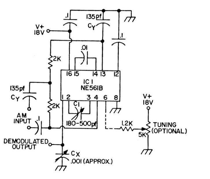
With this circuit it is possible to tune an AM signal using a 5k potentiometer (4k7). The circuit was found in a publication from the 1980s and the PLL can be replaced by an equivalent one, with tests.
Created to serve as a booster for TV signals in the UHF band, this circuit was found in the March...
With the appropriate choice of C1 and C2 it is possible to divide the frequency of a rectangular 3 V...
This circuit was found in the June 1970 Radio Electronics magazine. The power to the load is triac...