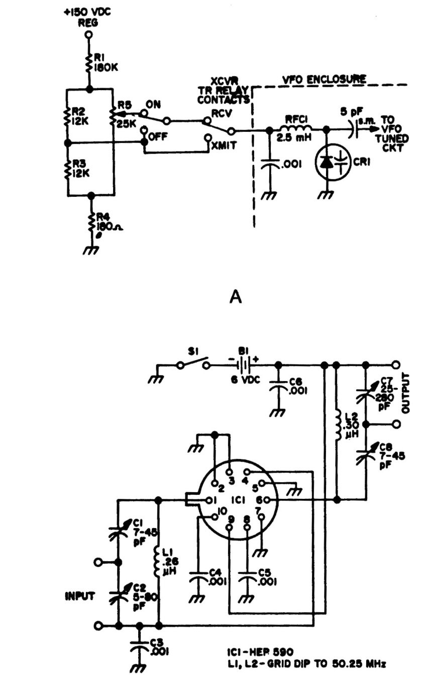
We found this circuit in an 80's documentation. The circuit has a gain of 30 dB and uses a varicap for tuning. Modern equivalent varicaps can be used, as the original type is not indicated. The integrated circuit used is of an unusual type today.
We found this circuit in an 80's documentation. The circuit has a gain of 30 dB and uses a varicap for tuning. Modern equivalent varicaps can be used, as the original type is not indicated. The integrated circuit used is of an unusual type today.