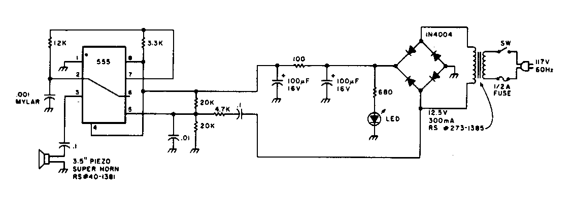
This repellent operates with frequencies from 30 to 45 kHz, serving for insects and rodents. The circuit is from 80s documentation. The transducer is a piezoelectric type.
This circuit only detects variations in light falling on the sensor. The circuit uses an LM380 as a...
This latched switch configuration was obtained from National Semiconductor documentation on the...
This electronic roulette circuit with 10 numbers was found in a Popular Electronics from the 80s....