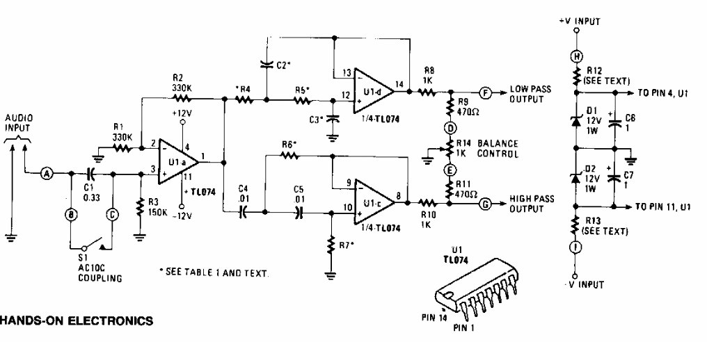
This circuit separates the bass from the treble in an audio signal. The circuit is from a Hands On Electronics from the 80s. The operational ones are still common today and the power supply must be symmetrical of 12 V given next to the diagram.
This circuit separates the bass from the treble in an audio signal. The circuit is from a Hands On Electronics from the 80s. The operational ones are still common today and the power supply must be symmetrical of 12 V given next to the diagram.