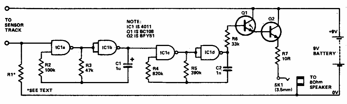
This simple rain, leak or moisture detector circuit appears in other places on this site with slight variations. This was obtained in an English documentation from the 70s.
This circuit was published in an English magazine from 1980. The magazine no longer exists, but...
The circuit shown was obtained in American documentation from 1968. MOSFETs can be replaced by...
This is the typical circuit of a fraction watt amplifier for a small record player or portable 70's...