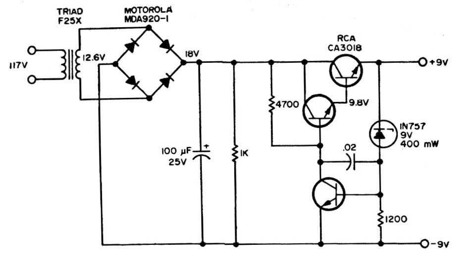
This small power supply is suitable for powering devices using 9V batteries. The circuit uses transistors from an integrated circuit from the time (1980s), but which can be replaced by modern equivalents. The diodes are 1N4002.
This small power supply is suitable for powering devices using 9V batteries. The circuit uses transistors from an integrated circuit from the time (1980s), but which can be replaced by modern equivalents. The diodes are 1N4002.