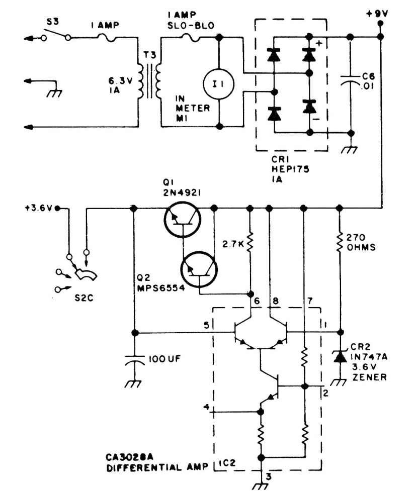
This sophisticated power supply from the 80s uses components from the period, which makes it difficult to elaborate in its original form. Transistors support equivalents, but the differential amplifier circuit is critical.
This sophisticated power supply from the 80s uses components from the period, which makes it difficult to elaborate in its original form. Transistors support equivalents, but the differential amplifier circuit is critical.