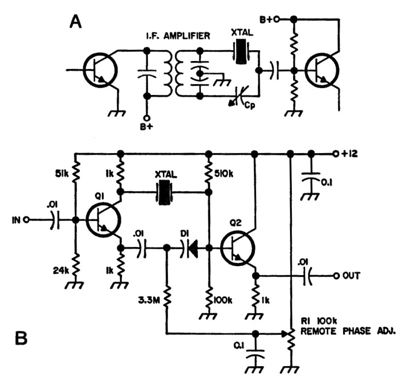
Below are two frequency filters for receivers using crystals. The crystals must have the frequency of the IF in the first case and in the second case the frequency of the signal that must pass. The circuit in the second case makes use of a varicap.
Below are two frequency filters for receivers using crystals. The crystals must have the frequency of the IF in the first case and in the second case the frequency of the signal that must pass. The circuit in the second case makes use of a varicap.