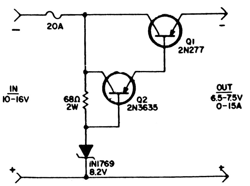
This reducer was found in documentation from the 1980s, using transistors of the time. The higher current transistor must have an excellent heat sink.
This circuit prevents the accidental inversion of the input polarity of a source to cause damage to...
Found in a Radio Electronics magazine from September 1958, this circuit has an LDR powered by the...
This circuit was found in General Electric documentation from the 1980s. The circuit is intended...