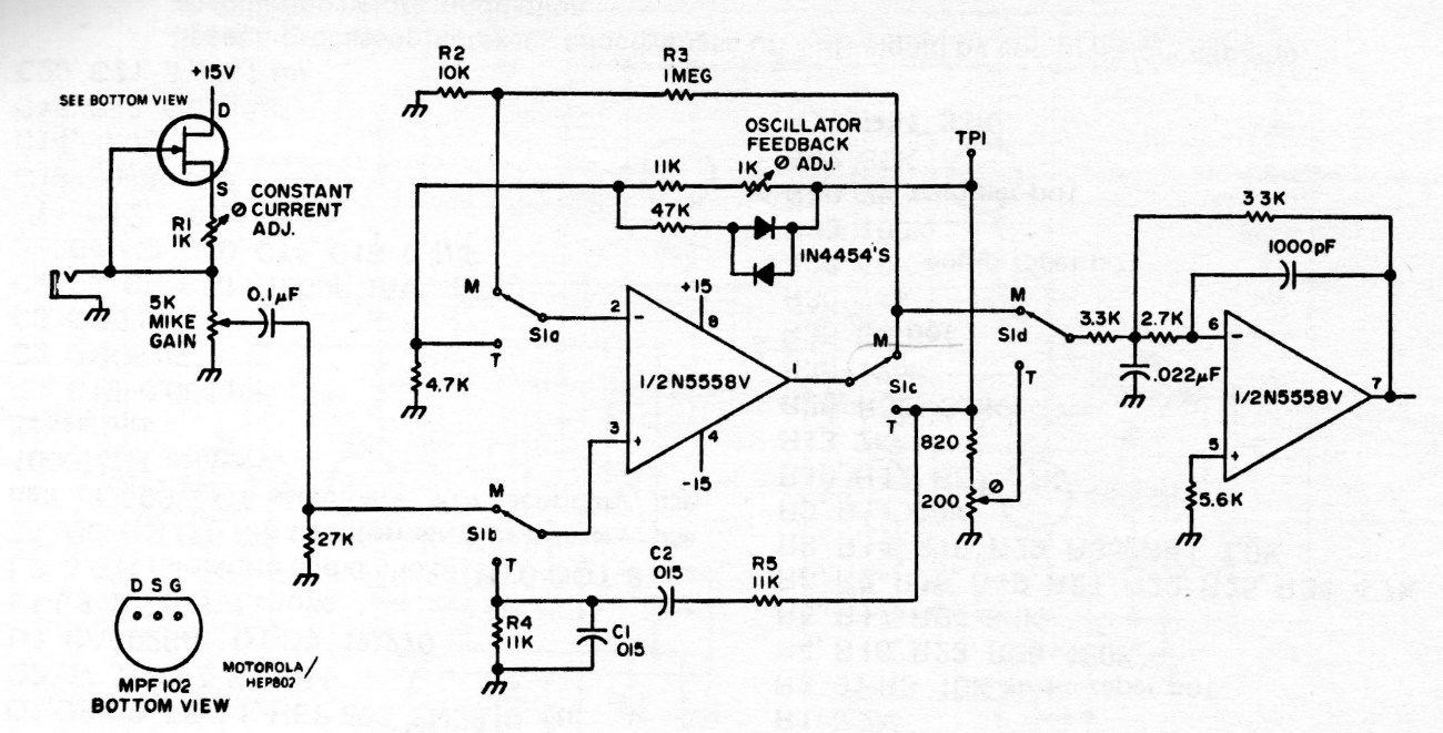
This is a combined circuit of tone generator and preamplifier. We found it in a 1975 documentation. Operational amplifiers of that time can be replaced by modern equivalents.
This circuit prevents the accidental inversion of the input polarity of a source to cause damage to...
Found in a Radio Electronics magazine from September 1958, this circuit has an LDR powered by the...
This circuit was found in General Electric documentation from the 1980s. The circuit is intended...