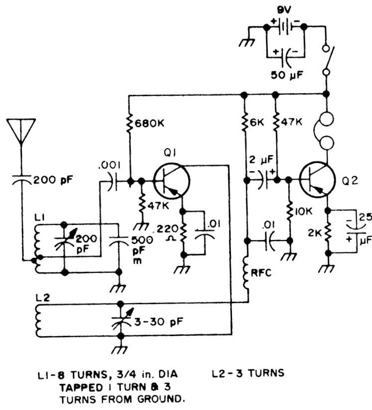
This receiver of two transistors for the 3.5 MHz band was found in a circuit manual from the 80's. The coil data are found next to the diagram and the transistors can be general purpose PNP.
We found this protection circuit for the power supply in a 1992 documentation. This circuit has...
I found this circuit in a documentation for radio amateurs from 1975. The FET could be the BF245....
Found in an American 80's documentation, this circuit can use common FETs like the BF245 and cover...