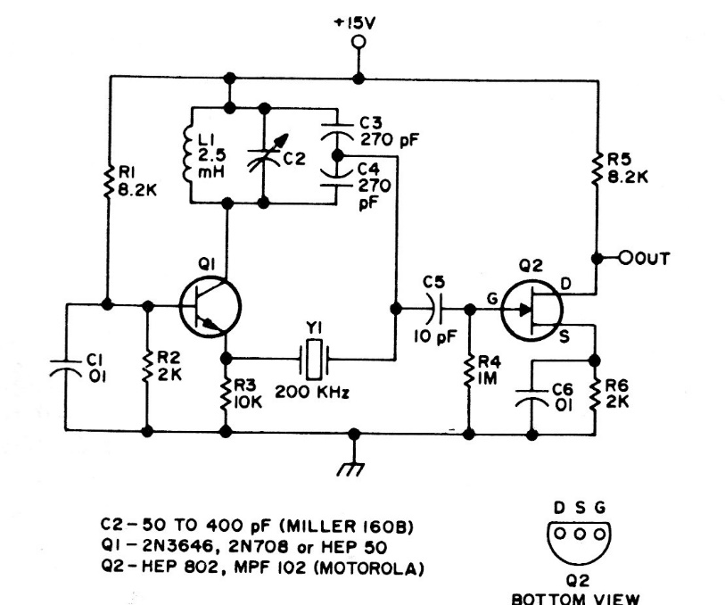
This circuit is from old documentation, but it can be implemented with modern transistors such as 2N2222 for bipolar and BF124 for FET. The crystal determines the operating frequency.
We found this protection circuit for the power supply in a 1992 documentation. This circuit has...
I found this circuit in a documentation for radio amateurs from 1975. The FET could be the BF245....
Found in an American 80's documentation, this circuit can use common FETs like the BF245 and cover...