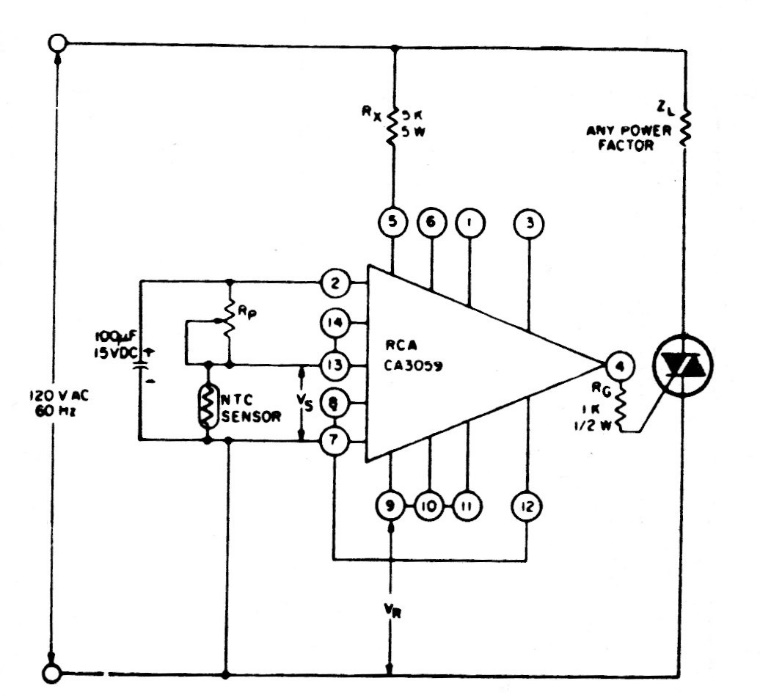
The load of this circuit depends on the triac and the integrated circuit used is uncommon today. The circuit is from 80s documentation. The triac must have a heat sink.
We found this active crossover in a Radio Electronics magazine from June 1961. Note the different...
Found in Popular Electronics from the 90s, this circuit serves to indicate the output level of a...
If you are on an old PC that you use for experiments, control or other applications, this circuit is...