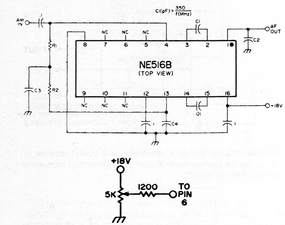
This circuit that uses potentiometer tuning, was found in a documentation from the 80's. The integrated circuit used is from that time and is a not common today.
We found this active crossover in a Radio Electronics magazine from June 1961. Note the different...
Found in Popular Electronics from the 90s, this circuit serves to indicate the output level of a...
If you are on an old PC that you use for experiments, control or other applications, this circuit is...