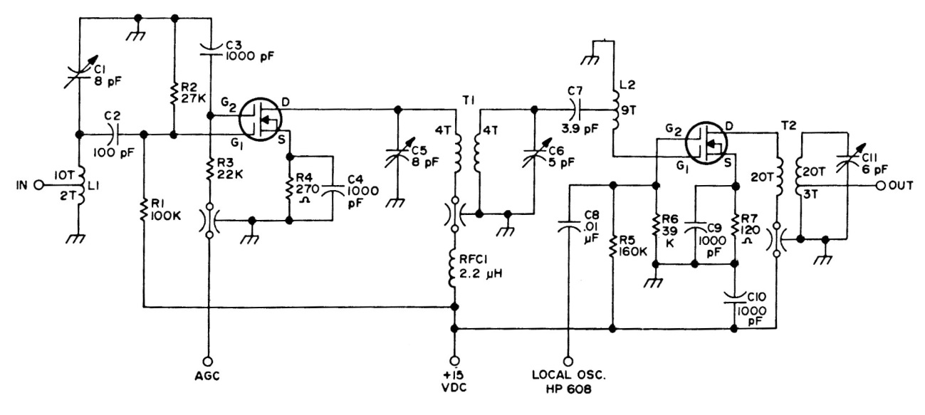
This old circuit, from the 80s, was found in American documentation. The circuit uses dual gate FETs (MOSFETs) and has no data on the coils used.
We found this active crossover in a Radio Electronics magazine from June 1961. Note the different...
Found in Popular Electronics from the 90s, this circuit serves to indicate the output level of a...
If you are on an old PC that you use for experiments, control or other applications, this circuit is...