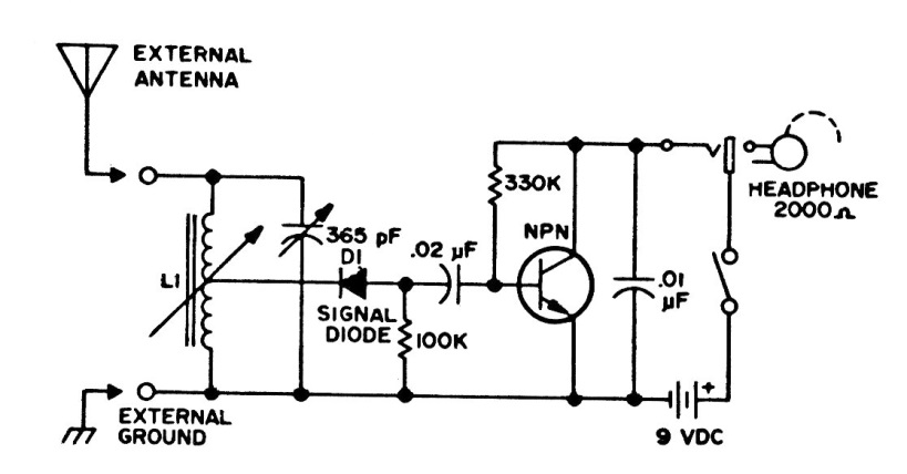
This medium wave radio works with any general purpose NPN transistor. The diode must be made of germanium and a coil formed by 50 + 50 turns of wire 26 to 30 on a ferrite rod.
This circuit, from ancient French documentation, produces a rectangular pulse from input pulses...
This timer for small intervals, but which can be increased with the increase of R1, was obtained in an...
Found in a 90s Radio Electronics, this circuit can supply currents of a few amps, according to the power...