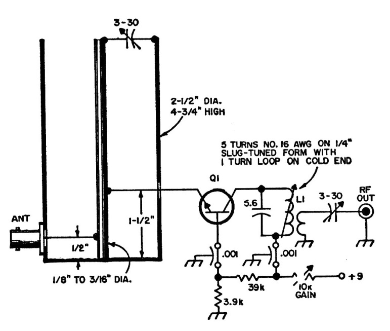
This circuit, very critical due to the frequency at which it operates, was found in an American documentation that uses a resonant cavity in a beer can. The transistor can be of any type for RF.
This circuit produces a signal in the range corresponding the the VHH channels between 2 and 6....
The circuit presented is from a 1969 Radiorama magazine (Italy), and can be designed with more...
The maximum power of the controlled load depends on the triac used. The circuit is from a Radio...