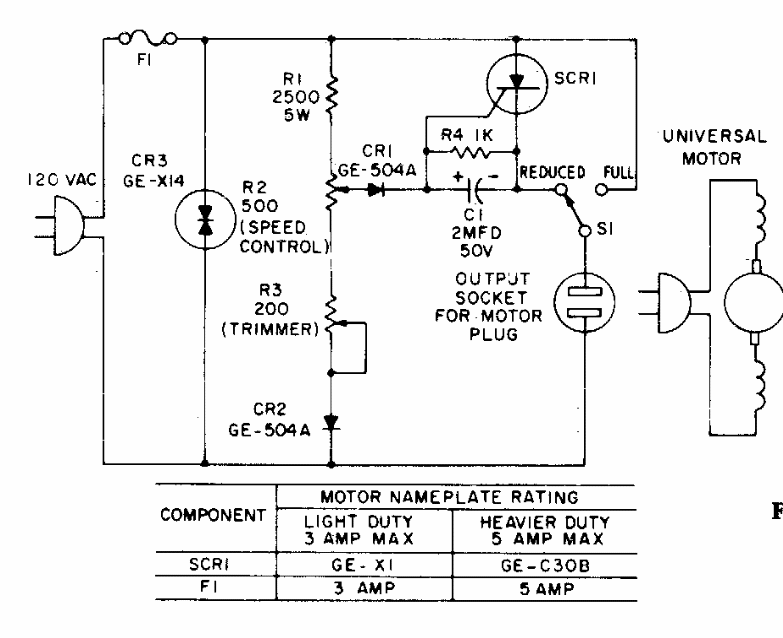
This plug-in control was found in General Electric documentation from the 1970s. The SCR can be the TIC106 mounted on a heatsink. The circuit can be changed to the 220 V network.
Other amplifiers of the series like the MC3301, MC3401 and LM2900 can be used in this circuit. We found...
This type of sensor was used in sensitive infrared systems from the 1960s. This circuit was found...
This circuit was obtained from an American 80's documentation. The balanced mixer can be shown in...