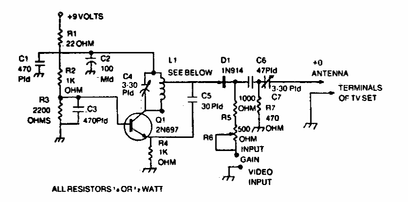
This circuit was found in documentation from the 1970s. The transistor supports modern equivalents. L1 with C4 determines the frequency range of the signals that will be produced.
This circuit was found in an American 1980s documentation. Transistors can be commonly used for...
This regulator provides a regulated output voltage of 48 V under a current of up to 1 A from a 60...
The integrated circuit used in this filter is not very common today, but the configuration can be implemented...