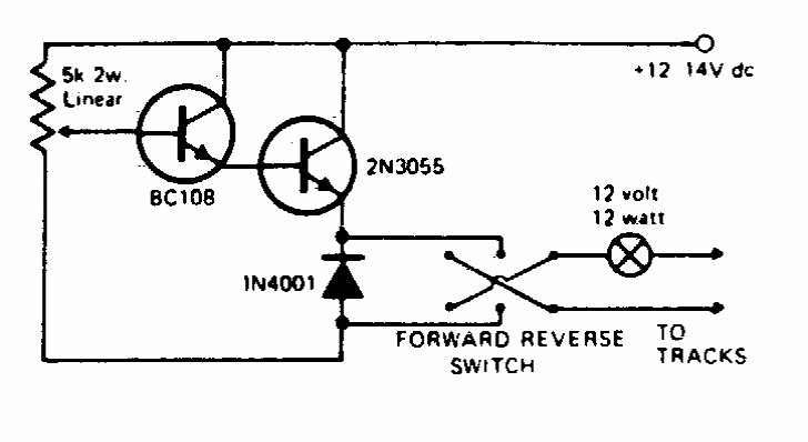
This circuit uses a wire potentiometer, but the current is much more intense in the control thanks to the 2N3055 which must be mounted on a heat sink.
June 2017 - Mouser Electronics has a broad line of Cree products for use in horticulture, such as...
Based on common operational amplifiers, this circuit was found in Texas Instruments documentation. The power...
This is an old circuit with a feature that most modern oscilloscopes have. We found it in a Radio...