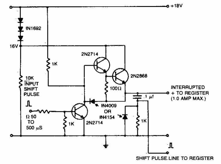
This circuit was found in documentation two years 80. Transistors can be modern equivalents. Or circuit can be modified to operate with lower voltage.
This filters blocks radio interference or noise coming from the AC Power line. Noise such as the...
Found in a 90s Popular Electronics, this circuit triggers a relay in case of overvoltage. Can be used as a...
We found this sophisticated home alarm in a 1994 documentation. The circuit supports sensors of...