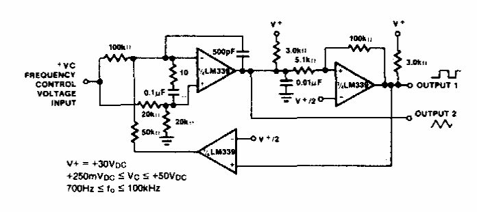
This circuit can generate signals up to 100 kHz. Found in documentation from the 1980s, it makes use of operatives of the time.
We found this circuit in the October 1990 issue of Radio Electronics magazine. The frequency can...
Flybacks transformers are no longer used as displays with kinescopes (CRT) have fallen out of use....
This circuit, with a 12 V input, was found in a Popular Electronics from the 1990s. Information is given...