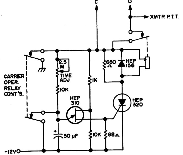
We found this timer circuit in an American documentation from the 1980s. The circuit uses the 6 V relay contacts to reset. The transistor supports equivalent as well as the SCR. The circuit is used in telecom repeater systems.
We found this timer circuit in an American documentation from the 1980s. The circuit uses the 6 V relay contacts to reset. The transistor supports equivalent as well as the SCR. The circuit is used in telecom repeater systems.