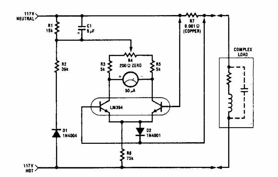
This circuit was obtained from a National Semiconductor manual from the 1990s. The circuit employs a pair of matched transistors, and the indicator is analog.
Found in the September 1972 issue of Radio Electronics magazine, this signal injector is based on the...
This is a traditional configuration of a series regulator with zeners, found in a documentation from the...
This small pulse receiver had its construction described in a Radio Electronics magazine from...