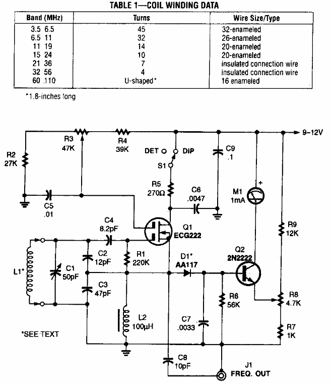
This circuit was found in a Popular Electronics from the 90's. It consists of the solid-state variation of the well-known grid-dip meter. MOSFET is a component not very easy to obtain these days.
This circuit was found in an American 1980s documentation. Transistors can be commonly used for...
This regulator provides a regulated output voltage of 48 V under a current of up to 1 A from a 60...
The integrated circuit used in this filter is not very common today, but the configuration can be implemented...