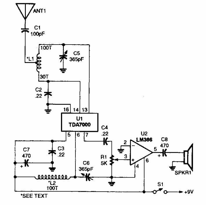
This simple radio was found in a Popular Electronics from the 90s. L1 and L2 have 100 turns on a toroidal core and L1 have a socket on the thirtieth turn.
This circuit was found in an American 1980s documentation. Transistors can be commonly used for...
This regulator provides a regulated output voltage of 48 V under a current of up to 1 A from a 60...
The integrated circuit used in this filter is not very common today, but the configuration can be implemented...