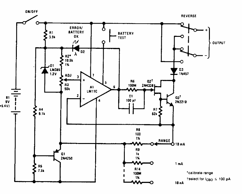
Found in National Semiconductor documentation from the 1990s, this circuit employs basic components from the time.
This circuit, found in an old magazine of the year 1968, uses a Power germanium transistor. This...
This sequential circuit with an optical coupler was found in a Popular Electronics from the 90s to...
This guitar effect circuit was found in a 2002 documentation. The circuit can be powered by a 9 V...