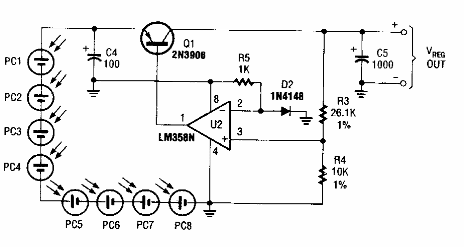
The circuit is from an Electronics Hobbyst Handbook from the 90s, being valid for panels of the time, with lower performance. The circuit supplies 2.4V with 125mA current.
This well-known siren configuration using complementary transistors is from a 1980s documentation. The...
This circuit was found in an old American magazine and could make use of more modern components...
This circuit is from the Philips integrated circuits manual of 1990. It is intended for magnetic...