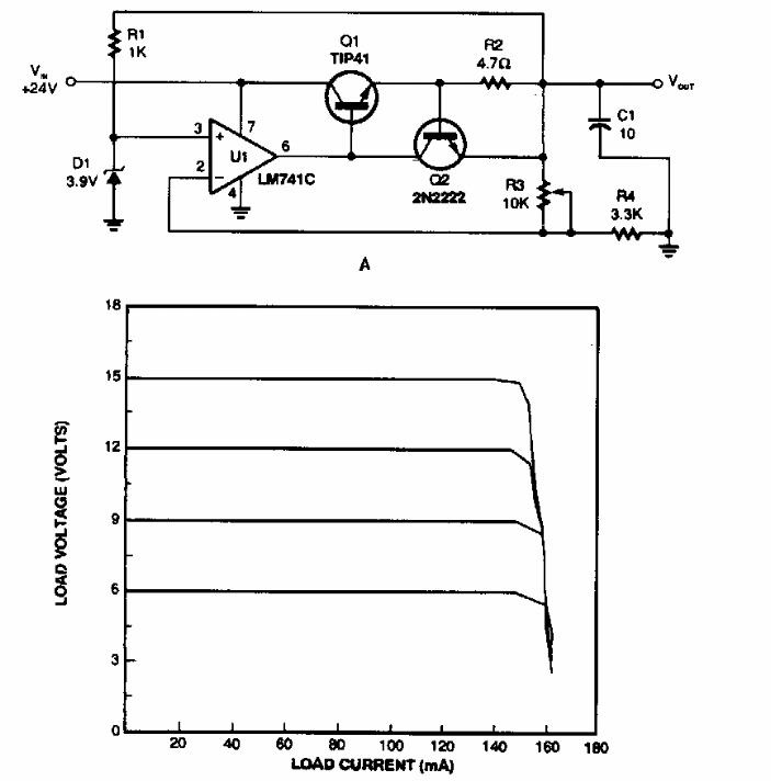
This circuit was found in a Popular Electronics from the 90's. The operating curve is given next to the diagram. The power transistor must have a heat sink.
This alarm circuit is from a 1990 Electronics Handbook. Transistor Q1 can be a BD135 and the relay...
With a light pulse on the Q1 sensor the circuit turns on and locks. To switch off, a light pulse...
This configuration, found many times on this website, is from a 1977 documentation. The frequency...