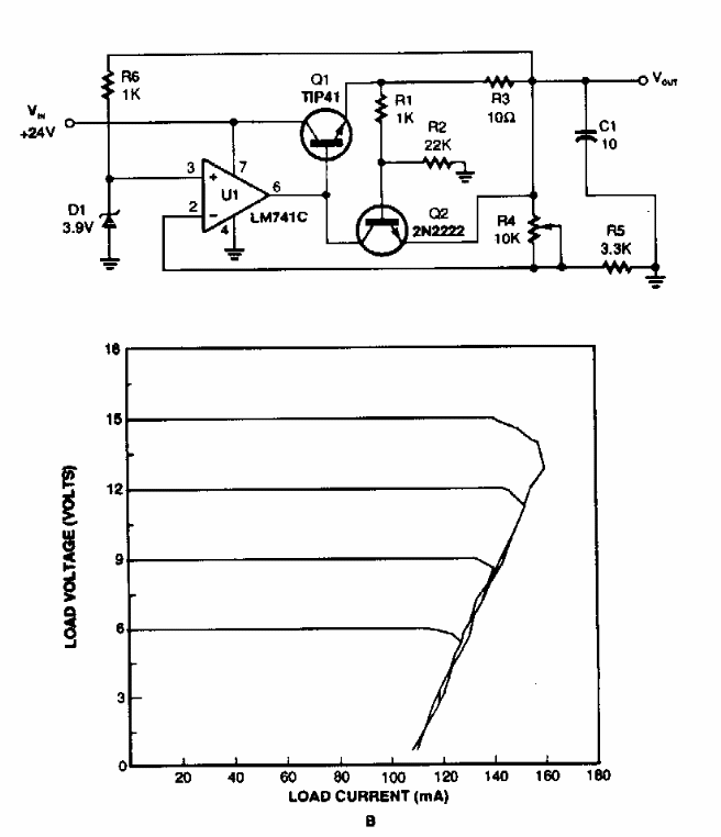
The name of this circuit comes from the appearance of its characteristic curve shown next to the diagram. The circuit was found in a Popular Electronics from the 90s.
This circuit activates a relay when the sensor receives light. The sensor can be any common LDR,...
We found this circuit in a 1980 documentation. With basic changes, including transistors that were...
When a small air current reaches the piezoelectric sensor, a small audio signal is generated and...